上海居住证积分,上海居住证积分细则,积分120分,居住证积分模拟,上海积分落户,居住证积分查询
当前所在位置: 首页 > 资讯中心 > 居住证积分 > 社会保险个税相关
2022年新版《上海居住证积分》模拟测分

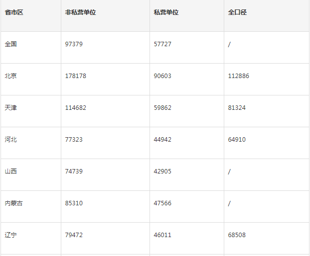
2021年度全国各省市职工社保基数对比

发布日期:2022-02-13 17:20:57浏览:来源:办积分网

国务院办公厅《关于印发降低社会保险费率综合方案的通知》规定:

各省应以本省城镇非私营单位就业人员平均工资和城镇私营单位就业人员平均工资加权计算的全口径城镇单位就业人员平均工资,核定社保个人缴费基数上下限。


以上海地区为例,2021年度全口径的社保缴费即

124056÷12=10338

image.png

image.png

image.png

image.png

版权声明:
本文内容与最新政策有差异的,以最新政策为准。
本文除政策原文外,未经许可,不得转载,所有视频均有版权。
来源:办积分网&相关官方部门
本文地址:http://www.banjifen.com
Tag:
2021职工社保基数
2022年上海落户条件自测

在线咨询

积分模拟

落户自测

联系我们

返回顶部